Войны раскладушек: трансформация смартфонов только начинается
Продажи складных смартфонов к 2027 году могут превысить 100 млн штук и занять 39% премиум-сегмента. Законодателем раскладушечной моды является Samsung. За трендсеттером плетутся Google, Motorola, One Plus, Huawei, Vivo и множество других менее известных брендов. Настоящую конкуренцию южнокорейцу может составить только технопроизводитель №1 Apple, который положил глаз на перспективный рынок, но пока хранит молчание. Техноблогеры перечитывают до дыр старые патенты корпорации и пытаются представить, какой будет «умная раскладушка» корпорации. В чертежи и реконструкции будущего флагмана Apple заглянул и ADPASS.

«Умные пудреницы» раскроются к 2027 году
В 2022 году в мире было продано 13,1 млн складных смартфонов. Появившиеся всего четыре года назад модели, хотя и остаются нишевыми, сумели занять 5% в сегменте дорогих устройств. В этом году ожидается дальнейший рост интереса потребителей к «умным раскладушкам» и они, по прогнозам, отвоюют еще 3% (итого 8%) у своих негибких родителей, что в штучном выражении может составить 18,6 млн устройств. Аналитики ожидают, что этот рынок будет расти и дальше, и к 2027 году на долю гаджетов этого форм-фактора придется уже 39% продаж смартфонов или 101,5 млн штук.

Samsung первым сложил смартфон
Сейчас в сегменте царит компания Samsung. Бигтех первым смог запустить серийное производство складных смартфонов. В феврале 2019 года он представил Samsung Galaxy Fold. Новинка появилась в продаже в Южной Корее 6 сентября того же года. С 2020 года увидели свет семь складывающихся моделей компании.
Помимо модернизации аппаратной и программной начинки девайсов, корейцы в 2020 году предложили другой способ сложения — к «записной книжке» добавилась «пудреница». На сегодня эти форм-факторы, Fold и Flip, есть у всех ведущих производителей раскладушек.
Потребители готовы копить на раскладушку
Согласно статистике, большинство (55%) владельцев согласны сменить свою «лопату» на этот пока еще примитивный трансформер. Попробовавшие «умные раскладушки» других телефонов себе уже и не представляют. У 80% таких потребителей следующий смартфон будет складным. Со временем к ним могут прибавиться и 52% владельцев классических мобильных гаджетов, которые готовы обновить свое устройство на гибкое.

У «Самсунга» пока все хорошо складывается
Сейчас почти каждая крупная компания-производитель смартфонов имеет в линейке складной телефон. Лидирует Samsung, за ним с большим отрывом идут Huawei и Motorola.
На прошлой неделе Samsung представил две складушки: Galaxy Z Fold 5 и Z Flip 5. Хотя смартфоны и не будут продаваться в России официально, их уже можно заказать в крупных розничных сетях. Цена на Galaxy Z Fold 5 стартует от 189 тыс. рублей, а Z Flip 5 — от 109 тыс. рублей. Больше всего техноблогеров, наперегонки тестирующих новые девайсы, впечатлило, что старшая модель гаджетов наконец-то начала складываться полностью, не оставляя щели, которой «славились» предыдущие модели компании. Разумеется, Samsung снабдил новое поколение мощной начинкой и очередной версией своего интерфейса One UI.

Из ряда складных смартфонов, которыми постепенно заполняется рынок дорогих мобильных устройств и которые очень похожи друг на друга, выбивается «умная раскладушка» Motorola Razr+ (оно же Razr 40 Ultra), производством которой занимается китайская компания Lenovo. Последняя версия девайса появилась в прошлом году, и если говорить о ее технической начинке не имеет смысла, она не самая лучшая, то дизайн выше всяких похвал. Инженеры и дизайнеры Lеnovo сделали все, чтобы складной смартфон выглядел, как чистокровный наследник легендарной раскладушки американской Motorola.
Из графика прогноза аналитиков (см. выше) видно, что в 2025 году они ожидают появления на рынке раскладного смартфона компании Apple, которая отберет у Samsung огромную долю рынка.
Каким может быть Fold-Flip-предложение Apple
О планах Apple выпустить складной iPhone неизвестно ничего конкретного. Все догадки о возможной новинке строятся лишь на патентах Apple, которые раскопали техноблогеры. Патентные заявки компании раскрывают некоторые варианты, которые Apple может применить на своих складных устройствах. А может и остановится на альтернативных.

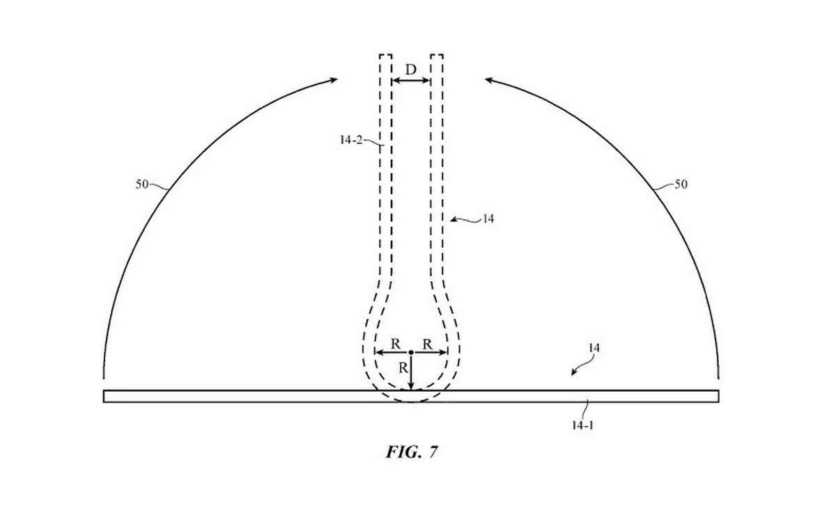
Один из самых раскрученных в пабликах патентов Apple датирован 2020 годом. В нем описывается устройство с гибким дисплеем, который складывается, но при этом оставляет небольшую полосу внизу открытой для быстрого доступа к уведомлениям и контекстной информации.

А еще раньше, в 2016 году, Apple запатентовал возможный iPhone, сильно напоминающий сегодняшние Samsung Galaxy Z Flip. Инженеры компании назвали свою разработку без изысков: «Устройство с гибким дисплеем» (Flexible display devices).

Именно в этих картинках черпают вдохновение техноблогеры и дизайнеры-футуристы. Развлекая публику, они гадают, как будет выглядеть гибкий смартфон от Apple, какие будут его грани, острые или плоские, какая будет диагональ экрана или экранов, как он будет называться и прочее, и прочее. Но достоверной информации в публичном доступе пока нет.

Единственное, что можно утверждать о будущем смартфоне от Apple со 100-процентной уверенностью, — он будет раскладным.
в канале MAX
