Apple заползает прямо в ухо: корпорация запатентовала наушники-трансформеры, в которых можно спать
Apple запатентовала наушники, способные менять форму в зависимости от сценария использования. Корпорация обещает, что мягкий материал корпуса позволит устройству подстраиваться под индивидуальные особенности анатомии пользователя. Ранее сооснователь Microsoft Билл Гейтс прогнозировал, что в ближайшие годы беспроводные наушники-вкладыши станут самым популярным гаджетом.

О том, что корпорация запатентовала новую модель наушников AirPods, стало известно из публикации ведомства по патентам и товарным знакам США. Первым на патент обратило внимание издание Patently Apple.

Разработчики исходят из того, что наушники должны быть максимально комфортными, поскольку пользователь будет носить их сутками. Заявлено, что цель разработки — повысить комфорт ношения и сделать возможными новые сценарии использования устройства. Наушники могут иметь корпус из мягкого материала и/или трансформируемую конструкцию, позволяющую менять форму и размер. Один из вариантов конструкции, описанный в патенте, подразумевает два режима ношения: стандартный, когда «ножки» AirPods торчат вниз, и режим отдыха, в котором они складываются или сворачиваются, позволяя лежащему на боку человеку прямо в наушниках положить голову на подушку и не испытывать при этом дискомфорт.

В лежачем режиме сам корпус наушника, сделанный из эластичного материала, сможет становиться короче. Производитель обещает добиться этого за счет применения растягивающейся ткани с особой многослойной структурой:

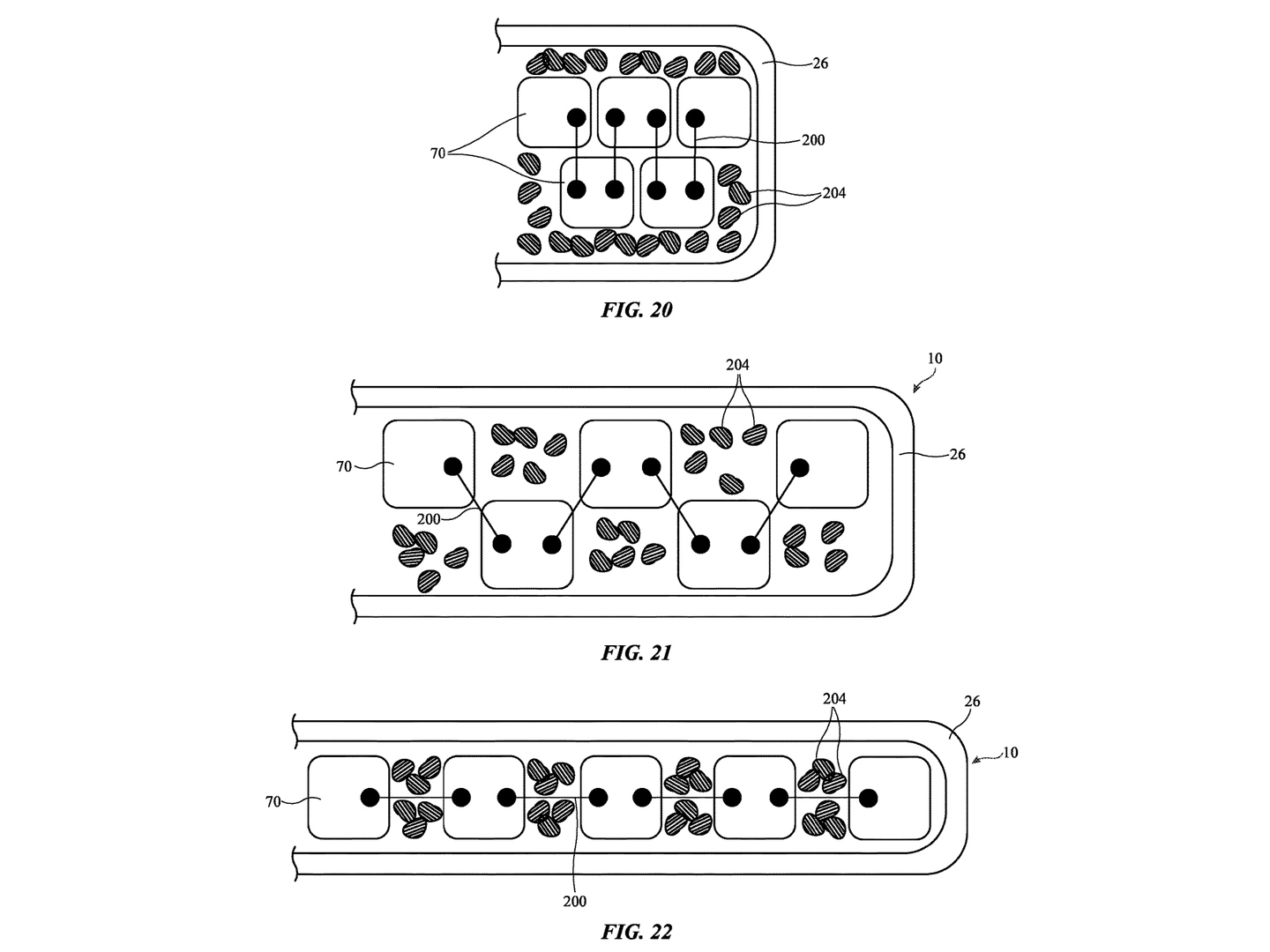
Электронику разместят внутри корпуса в толще мягкого материала и скомпонуют так, чтобы отдельные элементы могли свободно перемещаться относительно друг друга. «Ножка» и корпус наушника смогут растягиваться или сжиматься:

Мягким может быть сделан и корпус наушников, чтобы органично помещаться в ушах самой разной формы. В качестве возможных материалов в патенте перечислены мягкая полимерная пена, силикон, термопластичный полиуретан, ткань разных типов и даже кожа.
Впрочем, регистрация патента еще не означает, что новые наушники скоро поступят в продажу. Apple регулярно защищает патентами различные изобретения и разработки своих сотрудников, но в коммерческих продуктах реализуются только некоторые из них.
После публикации о регистрации нового патента Apple в СМИ появлялись утечки о следующей модели беспроводных наушников-вкладышей AirPods Pro. Издание Mashable написало, что модель может выйти во второй половине 2024-го или в начале 2025 года. Среди особенностей источники Mashable назвали зарядный чехол с универсальным разъемом USB-C вместо фирменного Lightning, новый процессор H3, а также функции мониторинга здоровья — например, встроенный термометр.
Информации о ценах на новинки пока нет. Сегодня на официальном сайте Apple цена наушников AirPods Pro второго поколения с разъемом type-c составляет $250.
Сооснователь Microsoft Билл Гейтс ранее выступил с прогнозом, заявив, что в ближайшие годы наиболее популярным гаджетом станут беспроводные наушники-вкладыши с голосовыми агентами — специальными программами, работающими на основе нейросетей и больших языковых моделей.
По данным Future Market Insights, объем мирового рынка беспроводных наушников-вкладышей в 2023 году составит $56,6 млрд, при этом через десять лет он, по прогнозу, вырастет до $522 млрд. Ведущим игроком пока остается Apple, компанию ей составляют Samsung, Sony, Bose и Google.
Каждый производитель пытается привлечь покупателей по-своему. Например, Pixel Buds от Google могут, в отличие от конкурентов, одновременно быть подключенными к двум устройствам, Apple встроила в последнюю модель AirPods Pro сенсорную регулировку громкости, Galaxy Buds 2 Pro от Samsung поддерживают воспроизведение 24-битного аудио, а наушники Bose QuietComfort Ultra Earbuds обладают, по оценке экспертов The Verge, самой эффективной системой шумоподавления.
в канале MAX
